Segeltuchlampe

    Diese Seite verwendet Cookies. Durch die Nutzung unserer Seite erklären Sie sich damit einverstanden, dass wir Cookies setzen. Weitere Informationen

      Segeltuchlampe

      Hallo,

      ich bin auf der Suche nach jemanden der eine Segeltuchlampe oder auch "Veroca" genannt hat und mir da etwas abmessen bzw. Fotos machen könnte.

      Hat das jemand von euch ?

      Nur wer verschiedene Blickwinkel in betracht zieht und überdenkt, hebt sich von den einfach-denkenden Menschen ab!
      Veroca ist eigentlich der Name wie diese Lampen bezeichnet werden.

      Was ich bräuchte:

      Die Abmessungen der Steher, also die ganzen Durchmesser, Längen und so, und eventuell Fotos von den einzelteilen des Stehers und ein Foto wie der Leuchtkörper aussieht.

      Das wäre super wenn du mir das ausmessen könntest !!!
      Nur wer verschiedene Blickwinkel in betracht zieht und überdenkt, hebt sich von den einfach-denkenden Menschen ab!
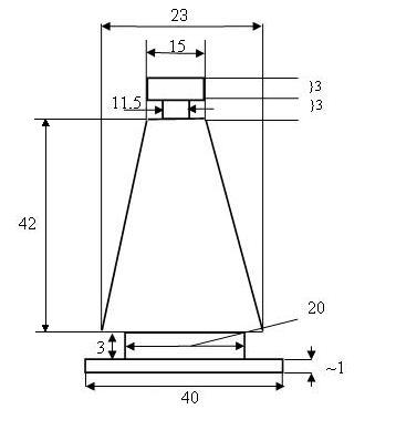
      So... ich entschuldige mich gleich MAL für die widerliche Word-Zeichnung, aber ich habe leider kein vernünftiges Zeichenprogramm am Schleppi!:(

      Ich hab dir MAL den Aufriss des Stehers gezeichnet und bemaßt... sollte mir irgendein Maß entgangen sein dann melde dich bitte ;)
      Die Angaben sind alle in Millimeter.
      In der obersten "Scheibe" (Die mit 15mm Durchmesser) sind symmetrisch 4 Löcher angebracht um die Feder einzufädeln. Der Durchmesser der Löcher beträgt 2mm.
      Zerlegen konnte ich den Steher heute leider nicht und morgen komm ich auch nicht dazu, falls du das aber brauchst mach ich es noch :smile:

      Als Leuchtkörper dienen Leuchtstoffröhren, das kann ich dir wenn du willst auch fotografieren wenn ich das Tuch runterkrieg!

      Also falls noch was unklar ist, einfach fragen :winken:

      MfG

      WOW !!! Also damit habe ich nicht gerechnet, dass du mir das so schnell machst !!!
      VIELEN VIELEN DANK !!!!

      Vielleicht kannst du mir - wenn du MAL Zeit hast - mir Fotos machen von den Elementen. Ein Element wird an die Decke geschraubt glaub ich, und da drauf dann dieser Kegel oder ? Also wäre echt cool wenn du mir das MAL bei Gelegenheit machen könntest!
      Nur wer verschiedene Blickwinkel in betracht zieht und überdenkt, hebt sich von den einfach-denkenden Menschen ab!
      Bitte bitte kein Problem :)
      Ich hatte heute sowieso noch frei, hatte also alle Zeit der Welt ;)

      AB morgen schauts wieder ein bissl anders aus da gehts wieder mit der Uni los :(

      Also die oberste Scheibe mit den 4 Löchern drin kann man auf jeden Fall drehen, ich glaub auch die is geschraubt aber ich werd MAL meinen Vater fragen ob er das weiß oder sonst MAL versuchen das ganze zu zerlegen ;)

      MfG
      Hallo,

      ein Maß bräuchte ich noch, habs in das Bild eingezeichnet. Vielleicht kannst du mir das auch noch rausmessen.

      Sind das eigentlich dann 3 Teile oder? vl. kannst mir die einzeln noch in mehreren Perspektiven fotografieren. DANKE :)
      Bilder
      • Segeltuchlampe2.JPG

        14,04 kB, 358×397, 95 mal angesehen
      Nur wer verschiedene Blickwinkel in betracht zieht und überdenkt, hebt sich von den einfach-denkenden Menschen ab!